Handbuch-Logistik
Einleitung
Das vorliegende Dokument gibt einen Überblick über die Möglichkeiten und Verfahren der Logistiktransaktionen. Dazu zählen die Bestandsführung der Artikel, die möglichen Lagerstrukturen und die Transaktionen Lieferantenbestellung, Wareneingang, Umlagerung und Lagerkorrektur.
Dabei ist das Dokument in 2 Abschnitte gegliedert:
Zunächst werden die Grundlagen der Filiallogistik in ViPOS Pro beschrieben, wobei alle relevanten Datenbestände (Tabellen) und die darin enthaltenen Felder aufgelistet werden.
Im zweiten Abschnitt sind die Tätigkeiten im Bereich Logistik beschrieben. Vorgänge wie das Erfassen von Wareneingängen oder Umlagerungen werden detailliert erläutert.
Grundlagen
Kundendaten-Organisation
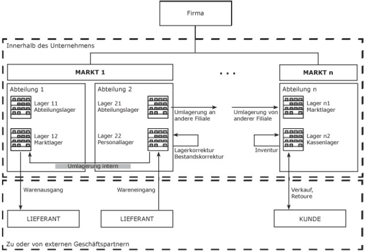
Die Datenstruktur von ViPOS Pro erlaubt eine Einteilung des Marktes/Filiale in mehrere Lager. Jedes Lager ist einer Abteilung eines Marktes zugeordnet.
(Beispiel):

Beim Verkauf eines Artikels bestimmt der dem Artikel zugeordnete Lagertyp (Verkaufslager, Personallager, etc.), von welchem Lager des Marktes der Artikel abgebucht wird.
Dieses Schema ist auch im Datenmodell verankert:

Lagertypen (Data Dictionary: STORETYPE)
Die Lagertypen dienen zur Kennzeichnung der Lagerorte für den Verkaufsvorgang, wobei jedem Lagerort ein oder mehrere Lagertypen zugeordnet werden können. Die Lagertypen werden daher global für das ganze Unternehmen festgelegt. Es ist zumindest ein Lagertyp festzulegen (z.B. Marktlager). Die Lagertypen werden mit dem Verwaltungsprogramm "Lagertypen" im Menü "Einstellungen" gepflegt.

| Bezeichnung | Beschreibung |
|---|---|
| Code | Der eindeutige Code des Lagertyps |
| Bezeichnung | Die Bezeichnung des Lagertyps |
| Lagerermittlung | Der Lagertyp eines Lagers bestimmt zusammen mit dem Lagertyp des Artikels am Artikelstamm von welchem Lager der Artikel beim Verkauf abgebucht wird: |
Mögliche Formen der Lagerermittlung (Origin) sind:
| Bezeichnung | Beschreibung |
|---|---|
| Markt | Das allgemeine Verkaufslager des Marktes |
| Abteilung | Das allgemeine Verkaufslager der Abteilung |
| Artikel | Das Artikellager für spezielle Artikel |
| Kassa | Das der Kassa zugeordnete Lager |
| Kassier | Das dem Kassier zugeordnete Lager |
| Verkäufer | Das dem Verkäufer zugeordnete Lager |
Beim Verkauf (oder der Retoure) eines Artikels wird abhängig vom Lagertyp am Artikelstamm das passende Lager für die Bestandsbuchung automatisch ermittelt.
Lagertypen Standardbelegung
ViPOS Pro wird mit folgender Standardbelegung ausgeliefert:
| Code | Bezeichnung | Lagerermittlung |
|---|---|---|
| AL | Artikellager | Artikel |
| DL | Abteilungslager | Abteilung |
| KL | Kassierlager | Kassier |
| ML | Marktlager | Markt |
| PL | Kassenlager | Kassa |
| RL | Reservelager | Markt |
| VL | Verkäuferlager | Verkäufer |
Lager (Data Dictionary: STORE, DEPSTORE)
Lagerstammdaten
Die Lager sind eindeutig zumindest einem Markt zugeordnet. Die Erfassung von Lieferantenbestellungen, Wareneingängen und Umlagerungen setzt pro Markt zumindest ein Lager voraus. Die Lager werden mit dem Verwaltungsprogramm "Lager" im Menü "Firma" gepflegt.

| Bezeichnung | Beschreibung |
|---|---|
| Code | Der innerhalb des Marktes und der Abteilung eindeutige Code des Lagers |
| Kurzbezeichnung | Die Kurzbezeichnung des Lagers |
| Bezeichnung | Die Bezeichnung des Lagers |
| Markt | Der Markt dem das Lager zugeordnet ist |
| Abteilung | Die Abteilung des Marktes der das Lager zugeordnet ist |
| Kassa | Die Kasse, der das Lager zugeordnet ist (Option bei Kassenlager) |
| Chargennummer | Die Chargennummer im Lager dient als Vorschlagswert beim Wareneingang |
| Zuordnung | Jedem Lager wird ein Lagertyp zugeordnet. Auf der rechten Seite ist die Liste der in diesem Markt noch nicht zugeordneten Lagertypen. |
Logistiktransaktionen
Jeder bestandsverändernde Geschäftsfall ist (auch) eine Logistiktransaktion, d.h. es wird der Waren-Bestand in einem oder (Umlagerung) 2 Lagern verändert. Je nachdem, welche Lager beteiligt sind und aus welchem Grund die Bestandsveränderung stattfindet, unterscheidet man die einzelnen Logistiktransaktionen:
| Grund der Bestandsveränderung | Belegart | Belegtyp | Lager1 | Lager2 |
|---|---|---|---|---|
| Verkauf an den Kunden, Retoure vom Kunden | Verkaufsbeleg | 0, 1 | - | |
| Wareneingang vom Lieferanten | Wareneingangsbeleg | E | + | |
| Warenausgang zum Lieferanten | Warenausgangsbeleg | F | - | |
| Umlagerung innerhalb einer Filiale | Umlagerungsbeleg | H | - | + |
| Umlagerung von einer anderen Filiale | Umlagerungsbeleg | H | - | + |
| Umlagerung an eine andere Filiale | Umlagerungsbeleg | H | - | + |
| Umlagerung / Abgang ohne Aviso | Umlagerungsbeleg | P | - | |
| Umlagerung / Zugang ohne Aviso | Umlagerungsbeleg | Q | + | |
| Umlagerung / Abgang mit Aviso | Umlagerungsbeleg | R | - | |
| Umlagerung / Zugang mit Aviso | Umlagerungsbeleg | S | + | |
| Lagerkorrektur | Lagerkorrekturbeleg | N | +/- | |
| Bestandskorrektur | Bestandskorrekturbeleg | O | +/- | |
| Inventurverbuchung | Inventurbeleg | I | +/- |
An jeder Logistiktransaktion ist zumindest 1 Lager, maximal 2 Lager (Abgangs- und Zugangslager) beteiligt.

Bei den Logistiktransaktionen innerhalb des Unternehmens (alle Umlagerungen, Lagerkorrektur oder Inventur) sind nur die Lager des Unternehmens beteiligt.
Bei den Logistiktransaktionen zu oder von externen Geschäftspartnern ist immer ein Lager des Unternehmens und ein externer Geschäftspartner (Lieferant oder Kunde) beteiligt.
Beim Verkauf oder der Retoure wird außerdem ein Verfahren zur Bestimmung des zu bebuchenden Lagers angewendet, da dies nicht vom Verkäufer oder Kassier bestimmt werden kann.
Lieferantendaten
Die Lieferantendaten werden im Lieferantenstamm (SUPPLIER) verwaltet. Lieferantensätze sind Voraussetzung für das Erfassen von Lieferantenbestellungen und Wareneingängen. Falls nur Bestellungen und Wareneingänge von einem Zentrallager erfolgen, so ist auch nur ein Lieferantenstammsatz (z.B. "Zentrale") anzulegen.
Lieferantenstammdaten
Die Lieferantenstammdaten werden mit dem Programm "Lieferanten" im Menü “Kunden/Lieferanten“ gepflegt:

| Pflichtfeld | Bezeichnung | Beschreibung |
|---|---|---|
| Pflicht | Code | Der eindeutige Code des Lieferanten |
| Pflicht | Nachname | Der Nachname des Lieferanten |
Alle anderen Felder sind optional zu befüllen.
Logistikdaten am Artikelstamm
Lagerführung und Bestelldaten

| Bezeichnung | Beschreibung |
|---|---|
| Lagerführung aktiv | Das Kennzeichen muss gesetzt sein, um überhaupt eine Bestandsführung bei diesem Artikel einzuschalten |
| Nullbestandswarnung | Dient zur Warnung, wenn der Bestand negativ wird. Dieser Schalter ist nicht implementiert. |
| Lagertyp | Der Lagertyp bestimmt, von welchem Lager der Artikel beim Verkauf (oder bei der Retoure) abgebucht wird. |
| Lagercode | Falls beim Lagertyp ein Lager mit Lagerermittlung "Artikel" eingetragen wird, muss beim Lagercode der Code des Artikellagers eingetragen werden. |
| Markt | Markt des Artikellagers (siehe Lagercode) |
| Abteilung | Abteilung des Artikellagers (siehe Lagercode) |
| Aktiv | Automatische Bestellung: nicht implementiert |
| Mindestbestand | Nicht implementiert |
| Bestellmenge | Nicht implementiert |
Artikel-Lieferant
Zur erleichterten Durchführung von Lieferantenbestellungen wird am Artikelstamm der Lieferant (Hauptlieferant) des Artikels gepflegt.

| Pflichtfeld | Bezeichnung | Beschreibung |
|---|---|---|
| Pflicht | Lieferant | Der Code des Lieferanten aus dem Lieferantenstamm |
| Lieferanten-ArtNr | Die Artikel-Nummer des Artikels beim Lieferanten (optional) | |
| Pflicht | Bestellerlaubnis | Die Bestellerlaubnis steuert, ob der Artikel bei der Bestellung gewählt werden darf bzw. in der Auswahlliste angeboten wird. |
Beim Erfassen von Lieferantenbestellungen werden alle Artikel des ausgewählten Lieferanten mit Bestellerlaubnis vorgeschlagen.
Logistikdaten am Personalstamm
Sollen bestimmte Artikel auf einem dem Verkäufer oder Kassier zugeordneten Lager geführt werden, so ist im Personalstamm das Lager einzutragen. Es sind folgende Felder zu pflegen:
| Pflichtfeld | Bezeichnung | Beschreibung |
|---|---|---|
| Pflicht | Lagercode | Der Lagercode des dem Kassier oder Verkäufer zugeordneten Lagers |
Ist beim Verkauf eines Artikels am Artikelstamm des Artikels der Lagertyp "Kassierlager" oder "Verkäuferlager" eingetragen", so wird der Artikel von diesem Lager abgebucht.

Bestandsführung
Bestandsdaten (Data Dictionary: STOCK)
Die Bestände pro Artikel und Lager werden in der Tabelle STOCK geführt.
Verfahren der Bestandsführung
Der Bestand wird bei jedem Beleg, der eine bestandswirksame Transaktion enthält, automatisch verändert.
Die Bestandsführung bei den einzelnen Logistiktransaktionen hängt dabei von folgenden Einstellungen ab:
| Belegtyp | Einstellung am Belegtyp | Einstellung Lagerführung am Artikelstamm | Einstellung Lagertyp am Artikelstamm | Bemerkung |
|---|---|---|---|---|
| Wareneingang | JA | JA | NEIN | Lager wird vom Benutzer ausgewählt |
| Warenausgang | JA | JA | NEIN | Lager wird vom Benutzer ausgewählt |
| Umlagerungen | JA | JA | NEIN | Lager wird vom Benutzer ausgewählt |
| Inventur | JA | JA | NEIN | Lager wird von den Inventurdaten bestimmt |
| Lagerkorrektur | JA | JA | NEIN | Lager wird vom Benutzer ausgewählt |
| Bestandskorrektur | JA | JA | NEIN | Lager wird vom Benutzer ausgewählt |
| Verkaufsbeleg | JA | JA | JA | Lager wird automatisch bestimmt |
Einstellungen am Belegtyp
Bei den Belegtypen ist vermerkt, wie (positiv oder negativ) und wo (Abgangslager, Zugangslager) der Bestand zu verbuchen ist. Am Belegtyp sind daher die Faktoren für die Lagerbuchung korrekt einzustellen.
Die Belegtypen werden mit dem Verwaltungsprogramm "Belegtypen" im Menü "Einstellungen" gepflegt.

| Bezeichnung | Beschreibung |
|---|---|
| Typ | Die Belegtypen sind vorgegeben. Die Typen von 0 bis 9 sind Belege für das Registrierungsprogramm, die Typen von "A" bis "Z" für die Logistikprogramme. |
| Bezeichnung | Die Bezeichnung des Belegtyps |
| Nummernkreis | Der diesem Belegtyp zugeordnete Nummernkreis. Generiert innerhalb des Belegtyps fortlaufende Nummern und wird den Typen von "A" bis "Z" nach Bedarf zugeordnet. |
| Mengenfaktoren für Belegpositionen | Soll die erfasste Menge vom Bestand abgezogen werden, so ist -1 einzutragen, soll die erfasste Menge zum Bestand hinzugezählt werden, so ist 1 einzutragen. |
| Ziellager | Soll die erfasste Menge vom Bestand abgezogen werden, so ist -1 einzutragen, soll die erfasste Menge zum Bestand hinzugezählt werden, so ist 1 einzutragen. |
| Buchungszeitpunkt | Nach Belegabschluss oder nach Positionsabschluss; wenn ohne Seriennummern gearbeitet wird, sollte hier immer "Belegabschluss" gewählt werden. |
| Buchung von Retouren | Nein, Alle, Nur ohne Seriennummer; "alle", wenn keine Serien-Nr. verwendet werden |
| Buchung im Trainingsmodus | Nein, Alle, Nur ohne Seriennummer; standardmäßig auf "Nein" gesetzt |
Nummernkreise
Die Nummernkreise werden mit dem Verwaltungsprogramm "Nummernkreise" im Menü "Einstellungen" gepflegt.

| Bezeichnung | Beschreibung |
|---|---|
| Code | Der Code des Nummernkreises |
| Bezeichnung | Die Bezeichnung des Nummernkreises |
| Von | Startnummer des Nummernkreises |
| Bis | Obergrenze für den Nummernkreis. Bei Überschreiten beginnt er wieder mit der Startnummer |
| Belegsymbol | Es kann ein Belegsymbol zugeordnet werden; wird jedoch nicht verwendet |
Belegtyp und Nummernkreise/Standardeinstellungen
ViPOS Pro wird mit folgenden Standardeinstellungen bei den Belegtypen ausgeliefert:
| Typ | Bezeichnung | Abgangslager Faktor | Ziellager Faktor | Nr.kreis | Bemerkung |
|---|---|---|---|---|---|
| 0 | Verkaufsbon | -1 | 0 | Bon1 | Verkäufe reduzieren den Bestand |
| 1 | Kundenfaktura | -1 | 0 | Verkäufe reduzieren den Bestand | |
| 2 | Kundenlieferschein | 0 | 0 | Nicht bestandswirksam | |
| 3 | Kundenbestellung | 0 | 0 | Nicht bestandswirksam | |
| 4 | Kassentransaktion | 0 | 0 | Nicht bestandswirksam | |
| 5 | Geldzählung | 0 | 0 | Nicht bestandswirksam | |
| A | Lieferantenbestellung | 0 | 0 | Best | Nicht bestandswirksam |
| B | Lagerbestellung | 0 | 0 | Nicht bestandswirksam | |
| C | Lieferantenbestell-Aviso | 0 | 0 | Nicht bestandswirksam | |
| D | Lagerbestell-Aviso | 0 | 0 | Nicht bestandswirksam | |
| E | Wareneingang | +1 | 0 | WEG | Wareneingänge erhöhen den Bestand |
| F | Warenausgang | -1 | 0 | WAG | Warenausgänge reduzieren den Bestand |
| G | Umlagerungsaviso | 0 | 0 | Nicht bestandswirksam (Aviso für An-Filiale) | |
| H | Umlagerung | -1 | +1 | UML | Umlagerungen reduzieren den Bestand im Abgangslager und erhöhen den Bestand im Zugangslager |
| I | Inventur | 1 | 0 | INV | Inventurverbuchungen reduzieren den Bestand um die (negative) Differenz. |
| J | Warenübernahme VP-Ware TZ | 0 | 0 | WUB | Nicht bestandswirksam (WÜ Vermittlungsware) |
| K | Auszahlungsbeleg TZ | 0 | 0 | AUS | Nicht bestandswirksam |
| L | Warenübernahme VM-Ware TZ | 1 | 0 | WUB | Wareneingänge erhöhen den Bestand |
| M | Preisänderung | 0 | 0 | PAE | Nicht bestandswirksam |
| N | Lagerkorrektur | 1 | 0 | LGK | Lagerkorrekturen erhöhen oder vermindern den Bestand |
| O | Bestandskorrektur | 1 | 0 | BKO | Bestandskorrekturen erhöhen (vermindern) den Bestand |
| P | Umlagerung / Abgang ohne Aviso | -1 | 0 | UMLP | Umlagerung verringert den Bestand |
| Q | Umlagerung / Zugang ohne Aviso | 0 | 1 | UMLQ | Umlagerung erhöht den Bestand |
| R | Umlagerung / Abgang mit Aviso | -1 | 0 | UMLR | Umlagerung verringert den Bestand |
| S | Umlagerung / Zugang mit Aviso | 0 | 1 | UMLS | Umlagerung erhöht den Bestand |
| T | Wareneingangsaviso | 0 | 0 | 0 | Nicht bestandswirksam |
| U | Minus-Bestandskorrektur für SAP | 0 | 0 | 0 | Nicht bestandswirksam |
| V | Minusbestandswiederherstellung | 0 | 0 | 0 | Nicht bestandswirksam |
| W | Verlegungsaufforderung | 0 | 0 | 0 | Nicht bestandswirksam (Aviso für Von- Filiale) |
Einstellungen zur Lagerführung am Artikelstamm
Lagerführung Aktiv
Am Artikelstamm kann bei jedem Artikel gepflegt werden, ob überhaupt eine Bestandsführung erfolgen soll.
Artikellager
Falls der Artikel in jedem Fall auf einem bestimmten Lager geführt werden soll ("Artikellager") so ist der Lagercode des Artikellagers einzutragen.
Einstellungen zur Lagerführung am Personalstamm
Kassier-, Verkäuferlager
Falls bestimmte Artikel in einem dem Verkäufer oder Kassier zugeordneten Lager geführt werden sollen (Verkäuferlager, Kassierlager), so ist dieses Lager am Personalstamm einzutragen.
Lagerermittlung bei automatischen Buchungen (Verkauf, Retoure)
Die Bestandsbuchung bei Verkauf und Retoure vom Kunden hängt vom Lagertyp des Artikels und von den (optionalen) Einstellungen am Artikelstamm und am Personalstamm ab:
| Lagertyp am Artikel | Regel der Bestandsbuchung | Bebuchter Bestandssatz enthält |
|---|---|---|
| Marktlager | Der Bestand wird am Lager des Marktes verbucht. Das Lager des Marktes hat als Lagertyp "Marktlager". Es darf pro Markt nur ein Marktlager existieren. | MARCode = aktueller MarktCode STOCode = LagerCode des Marktlagers |
| Abteilungslager | Der Bestand wird am Lager der Abteilung verbucht. Das Lager der Abteilung hat als Lagertyp "Abteilungslager". Pro Abteilung eines Marktes darf es nur ein Abteilungslager geben. | MARCode = aktueller MarktCode DEPCode = aktueller Abteilungscode STOCode = Lagercode des Marktlagers |
| Kassenlager | Der Bestand wird am Lager der Kasse verbucht. Das Lager der Kasse hat als Lagertyp "Kassenlager". Pro Kassa darf es nur ein Kassenlager geben. | MARCode = aktueller MarktCode DEPCode = Abteilungscode der Kasse STOCode = LagerCode des Kassenlagers POSCode = POSCode der Kasse |
| Artikellager | Der Bestand wird im Lager des Artikels verbucht. Das Lager des Artikels muss am Artikelstamm mit MARCode, DEPCode und STOCode gepflegt sein. | MARCode = Marktcode vom Artikelstamm DEPCode = Abteilungscode vom Artikelstamm STOCode = Lagercode vom Artikelstamm |
| Kassierlager, Verkäuferlager | Der Bestand wird am Lager des Kassiers oder Verkäufers verbucht. Das Lager des Kassiers/Verkäufers muss am Personalstamm mit dem LagerCode (STOCode) gepflegt sein. | MARCode = aktueller MarktCode DEPCode = AbteilungsCode des Kassier-/Verkäuferlagers STOCode = LagerCode des Kassier-/Verkäuferlagers |
Automatische Logistikbelege
Wenn bestimmte Lager für Retouren an Lieferanten und/oder Zentrale sowie für die Entsorgung angelegt werden, können folgende Logistikbelege mit ViPOS Pro automatisiert werden:
- Warenausgang an einen fixen Entsorgungs-Lieferanten
- Warenausgang an den echten Lieferanten (Ware retour)
- Umlagerung an die Zentrale
Es werden die Bestände, die untertags in den Sammellagern angefallen sind, beim Tagesende automatisch über die oben aufgelisteten Belege ausgebucht.
Die automatischen Logistikbelege werden mit dem Verwaltungsprogramm "Automatische Lagerbelege" im Menü "Einstellungen" verwaltet.

| Bezeichnung | Beschreibung |
|---|---|
| Code | Der Code der automatischen Umlagerung |
| Bezeichnung | Die Bezeichnung |
| Belegtyp | Der Belegtyp, der erzeugt werden soll |
| Lieferant | Für Warenausgänge kann "Lieferantenstamm" oder "fix" gewählt werden, für Belege, die keinen Lieferanten benötigen, wird "keiner" gewählt. |
| Code | Code des Lieferanten, wenn bei Lieferant "fix" eingetragen wurde. |
| Abgangslager | |
| Ermittlung | Es kann zwischen "fix", "kein Lager" und "Lagertyp" gewählt werden. |
| Lagertyp | Muss angegeben werden, wenn bei Ermittlung "Lagertyp" gewählt wurde. |
| Lager | Muss angegeben werden, wenn bei Ermittlung "Lager" gewählt wurde. |
| Lagermenge | Hier wird gewählt, ob bei "Menge <> 0", "Menge > 0" oder "Menge < 0" automatisch umgebucht wird. |
| Zugangslager | |
| Ermittlung | Es kann zwischen "fix", "kein Lager" und "Lagertyp" gewählt werden. Bei Belegtypen, die nur ein Abgangslager benötigen, wird hier "kein Lager" gewählt. |
| Lagertyp | Muss angegeben werden, wenn bei Ermittlung "Lagertyp" gewählt wurde. |
| Markt | Wird nicht benötigt |
| Lager | Muss angegeben werden, wenn bei Ermittlung "Lager" gewählt wurde. |
Logistikbelege
Übersicht
| Grund der Bestandsveränderung | Belegart | |
|---|---|---|
| Verkauf an den Kunden, Retoure vom Kunden | Verkaufsbeleg | 0, 1 |
| Wareneingang vom Lieferanten | Wareneingangsbeleg | E |
| Warenausgang vom Lieferanten | Warenausgangsbeleg | F |
| Umlagerung innerhalb einer Filiale | Umlagerungsbeleg | H |
| Umlagerung von einer anderen Filiale | Umlagerungsbeleg | H |
| Umlagerung an eine andere Filiale | Umlagerungsbeleg | H |
| Umlagerung/Abgang ohne Aviso | Umlagerungsbeleg | P |
| Umlagerung/Zugang ohne Aviso | Umlagerungsbeleg | Q |
| Umlagerung/Abgang mit Aviso | Umlagerungsbeleg | R |
| Umlagerung/Zugang mit Aviso | Umlagerungsbeleg | S |
| Bestandskorrektur | Bestandskorrekturbeleg | K |
| Lagerkorrektur | Lagerkorrekturbeleg | L |
| Inventurverbuchung | Inventurbeleg | I |
Programme
Alle Logistikfunktionen sind in ViPOS Pro in folgenden Programmen zusammengefasst:
| Programm | Beschreibung | Dokumentation |
|---|---|---|
| Bestellung | Das Programm dient zum Erfassen, Ändern und Verbuchen von Lieferantenbestellungen. | Dieses Dokument |
| Aviso | Das Programm dient zum Selektieren von Umlagerungs- (G), Wareneingangs-Aviso (T) und Verlegungsaufforderungen (W). | Dieses Dokument |
| Wareneingang | Das Programm dient zum Erfassen, Ändern und Verbuchen von Wareneingängen. | Dieses Dokument |
| Warenausgang | Das Programm dient zum Erfassen, Ändern und Verbuchen von Warenausgängen. | Dieses Dokument |
| Umlagerung | Das Programm dient zum Erfassen, Ändern und Verbuchen von Umlagerungen zwischen beliebigen Lagern. | Dieses Dokument |
| Umlagerung Intern | Das Programm dient zum Erfassen, Ändern und Verbuchen von Umlagerungen innerhalb eines Marktes. | Dieses Dokument |
| Umlagerung Zugang / (ohne mit Aviso) | Das Programm dient zum Erfassen, Ändern und Verbuchen von Umlagerungen von einem fremden Markt in den eigenen Markt. | Dieses Dokument |
| Umlagerung Abgang / (ohne mit Aviso) | Das Programm dient zum Erfassen, Ändern und Verbuchen vom eigenen Markt zu einem fremden Markt. | Dieses Dokument |
| Lagerkorrektur | Das Programm dient zum Erfassen, Ändern und Verbuchen von Lagerkorrekturen. | Dieses Dokument |
| Bestandskorrektur | Das Programm dient zum Erfassen, Ändern und Verbuchen von Bestandskorrekturen. | Dieses Dokument |
| Inventur Bearbeiten | Das Programm dient zum Anlegen einer Inventur, zum Abgrenzen einer Inventur, zum Auswählen der zur Inventur gelangenden Artikel, zur Erfassung der Zählbestände. | siehe Inventur |
| Inventur verbuchen | Das Programm dient zum Buchen der abgeschlossenen Inventur | siehe Inventur |
Die einzelnen Programme können auf Wunsch unterschiedlichen Benutzergruppen zugeordnet werden, so dass z.B. die Durchführung von Lagerkorrekturen nur durch einen autorisierten Mitarbeiter erfolgen kann.
Tätigkeiten
Bestände Abfragen
Die Bestände auf den unterschiedlichen Lagern können in mehreren Programmen abgefragt werden:
- Bestandsabfrage - Auswahl Artikel und/oder Lager
- Lagerbestand - Auswahl Lager, alle Artikelbestände des Lagers
- Artikelbestand - Auswahl Artikel, alle Lagerbestände des Artikels
- Personallagerbestand - Auswahl Person, alle Bestände am Personallager
Bestandsabfrage
Die "allgemeine" Bestandsabfrage zeigt die einzelnen Bestandssätze der selektierten Artikel in den selektierten Lagern. Der Aufruf erfolgt über die Verwaltungsprogramm "Lagerbestand" im Menü "Lager" oder "Artikelbestand" im Menü "Artikel".

| Kriterium | Beschreibung | Selektion |
|---|---|---|
| Markt | Artikelcode | Menge = n |
| Filiale | Seriennummer | Menge > n |
| Kassa | Chargennummer | Menge < n |
| Lager | Lagercode |
Lagerbestandsabfrage
Die Lagerbestandsabfrage liefert die Bestände aller auf dem Lager befindlichen Artikel. Die Lagerbestandsabfrage ist ein Registerblatt im Verwaltungsprogramm "Lager" im Menü "Firma".

Artikelbestandsabfrage
Die Artikelbestandsabfrage liefert die Bestände des Artikels in allen Lagern. Die Artikelbestandsabfrage ist ein Registerblatt im Verwaltungsprogramm "Artikel" im Menü "Artikel".

Artikelbestand am Personallager
Die Bestandsabfrage von Kassier- oder Verkäuferlager ist ein Registerblatt im Verwaltungsprogramm "Personal" im Menü "Firma".

Artikelbestand in der Artikelinfo
Der Artikelbestand in der Artikelinfo des Kassenprogramms liefert die Bestände des Artikels in allen Lagern.
Siehe Bedienung Kassa.
Bestandsdaten von der Warenwirtschaft Übernehmen
Die Bestände der Artikel in den einzelnen Märkten und Lagerorten können von einem zentralen Warenwirtschaftssystem übernommen werden. Dies kann (optional) im Rahmen der automatischen Datenübernahme vom zentralen Warenwirtschaftssystem in den zentralen ViPOS-Server geschehen.
Artikel beim Lieferanten Bestellen
Die Lieferantenbestellungen werden im Verwaltungsprogramm "Bestellung" im Menü "Lager" verwaltet.
- Bei einer Lieferantenbestellung wird der Belegtyp A verarbeitet.
Bestellungen Auswählen (F10) und Ändern (F2)
Nach Aufruf des Programms wird die letzte Bestellung, die erfasst wurde, angezeigt. Das Suchen und Selektieren von Bestellungen geschieht mit den Standardfunktionen der Verwaltungsprogramme (Positionieren, Suchen, Einschränken).
Neue Bestellung Erfassen (F1)
Zum Erfassen einer Lieferantenbestellung wird die Funktion Bearbeiten/Neu ausgewählt.
